SS200CK
Stainless Steel Check Valve, 200 WOG, Threaded Ends
OVC Stainless Steel Threaded Ball Valves, 200 WOG
DESIGN FEATURES
  • 316 Stainless Steel Trim
Sizes 1/4" - 3"
Class Figure #
Pressures 200 WOG SS200GT
200 WOG SS200GL
200 WOG SS200CK
Material CF8M
Ends Threaded
Trim 316 Stainless Steel Trim
SS200CK Drawing
ITEM PARTS MATERIAL
1 BODY ASTM A351-CF8M
2 CAP ASTM A351-CF8M
3 HINGE PIN SS 316
4 DISC ASTM A351-CF8M
5 PLUG SS 316
6 GASKET TEFLON
SS200CK 0.5-3 Certified Drawing
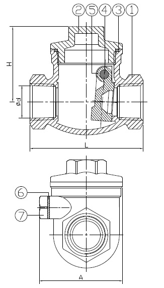
ITEM PARTS MATERIAL
1 BODY ASTM A351-CF8M
2 CAP ASTM A351-CF8M
3 GASKET PTFE
4 PLUG SS 316
5 DISC ASTM A351-CF8M
6 GASKET PTFE
7 BOLT SS 304
SS200CK Drawing
NPS d L H Weight (lb)
0.25 0.59 2.52 1.63 0.6
0.375 0.59 2.52 1.63 0.6
SS200CK 0.5-3 Certified Drawing
NPS d L H A Weight (lb)
0.5 0.63 2.56 1.69 1.83 0.7
0.75 0.79 3.15 2.01 2.03 1
1 0.98 3.5 2.36 2.2 1.5
1.25 1.26 4.13 2.6 2.52 2.2
1.5 1.57 4.72 2.95 2.93 3.4
2 1.97 5.47 3.15 3.31 4.7
2.5 2.56 7.13 3.9 4.13 10.1
3 3.15 7.87 4.09 5.51 16.8

NOTE: The information and data in this product data sheet is provided on this website as a general guide only. The information and data displayed are accurate to the best of our knowledge, and may be revised at any time without notice. Ohio Valve Company assumes no responsibility for the accuracy of this information as displayed on this website. Contact Ohio Valve Company directly for the most current product dimensional data and general assembly drawings.

OVC General Products Catalog

Created as a desktop reference manual, our OVC General Products catalog provides an in-depth look at our entire product line, complete with design details and the registration numbers needed to get accurate quotes with our sales team or buy online at iValco.com.

DOWNLOAD PDF